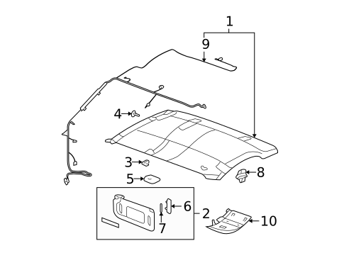
Interior Trim - Cab for 2008 Chevrolet Silverado 1500
No.
Part # / Description / Price
Price
1
Windshield Pillar Trim
GM
GM Positions: Right
Notes: PARTS: Order by application.
Description: Tahoe & Yukon, with enhanced sound system, cashmere. Crew cab, pillars & floor, without premium enhanced audio, cashmere. Extended cab, pillars & floor, without premium enhanced audio, cashmere. Avalanche, without premium audio, cashmere. Sedan, chevrolet & gmc, without premium audio, cashmere.
1
Molding Asm-W/S Si Garn Gran Opl Gry 2
GM
GM Positions: Right
Notes: PARTS: Order by application.
Description: Tahoe & Yukon, with premium sound system, gray. Avalanche, with premium audio, ebony. , chevrolet & gmc, with premium audio, ebony. CREW CAB PILLARS & FLOOR. with premium enhanced audio ebony. EXTENDED CAB PILLARS & FLOOR. with premium enhanced audio ebony. Helps define the appearance of your vehicle's body A-pillar trim
This GM Genuine Part is designed, engineered, and tested to rigorous standards and is backed by General Motors
Collision parts are designed to help promote proper and safe repair
1
Windshield Pillar Trim 2
GM
GM Positions: Right
Notes: PARTS: Order by application.
Description: Tahoe & Yukon, with premium sound system, cocoa. CREW CAB PILLARS & FLOOR. with premium audio cashmere. Sedan, chevrolet & gmc, with premium audio, cocoa.
1
Granite Opel Gray Driver Side Windshield Garnish Molding
GM
GM Positions: Left
Notes: PARTS: Order by application.
Description: Tahoe & Yukon, with enhanced sound system, gray. Avalanche, without premium audio, ebony. , chevrolet & gmc, without premium audio, ebony. CREW CAB PILLARS & FLOOR. without premium enhanced audio ebony. EXTENDED CAB PILLARS & FLOOR. without premium enhance ...
1
Windshield Pillar Trim
GM
GM Positions: Left
Notes: PARTS: Order by application.
Description: Crew cab, pillars & floor, without premium enhanced audio, cashmere. Tahoe & Yukon, with enhanced sound system, cashmere. Avalanche, without premium audio, cashmere. Sedan, chevrolet & gmc, without premium audio, cashmere.
1
Windshield Pillar Trim
GM
GM Positions: Left
Notes: PARTS: Order by application.
Description: Tahoe & Yukon, with premium sound system, cocoa. CREW CAB PILLARS & FLOOR. with premium audio cashmere. Sedan, chevrolet & gmc, with premium audio, cocoa.
1
Windshield Pillar Trim
GM
GM Positions: Right
Description: Standard cab pillars & floor. without speaker cashmere.
1
Windshield Pillar Trim
GM
GM Positions: Left
Description: Standard cab pillars & floor. without speaker cashmere.
1
Body A-Pillar Trim Panel
GM
GM Positions: Right
Description: Standard cab, pillars & floor, without speaker.
1
Body A-Pillar Trim Panel
GM
GM Positions: Left
Description: Standard cab, pillars & floor, without speaker.
2
Granite Opel Gray Windshield Garnish Molding Bolt Hole Finish Plug
GM
GM Positions: Left
Notes: PARTS: Part included with windshield pillar trim.
Description: Tahoe & Yukon, gray. Avalanche, ebony. Chevrolet & gmc, ebony. Extended cab pillars & floor. ebony. Standard cab pillars & floor. ebony. Installed in the vehicle's trim panel for a finished appearance
This GM Genuine Part is designed, engineered, and tested to rigorous standards and is backed by General Motors
Collision parts are designed to help promote proper and safe repair
MSRP $12.68
$9.43
MSRP $12.68
$9.43
2
Light Cashmere Driver Side Windshield Garnish Molding Bolt Hole Finish Plug
GM
GM Positions: Right
Notes: PARTS: Part included with windshield pillar trim.
Description: Tahoe & Yukon, cashmere. Avalanche, cashmere. Cadillac, cocoa. Escalade, cashmere. Crew cab pillars & floor. cashmere. Escalade EXT, cocoa. , chevrolet & gmc, cashmere. Extended cab pillars & floor. cashmere. Standard cab pillars & floor. cashmere. Installed in the vehicle's trim panel for a finished appearance
This GM Genuine Part is designed, engineered, and tested to rigorous standards and is backed by General Motors
Collision parts are designed to help promote proper and safe repair
MSRP $7.89
$5.86
MSRP $7.89
$5.86
3
Speaker Grille
GM
GM Positions: Left
Notes: PARTS: Part included with windshield pillar trim.
Description: Extended cab, pillars & floor, without premium enhanced audio, ebony. Tahoe & Yukon, with enhanced sound system, gray. Avalanche, without premium audio, ebony. CREW CAB PILLARS & FLOOR. without premium audio ebony. Standard cab, pillars & floor. Sedan, chevrolet & gmc, without premium audio, ebony.
3
Speaker Grille
GM
GM Positions: Left
Notes: PARTS: Part included with windshield pillar trim.
Description: Tahoe & Yukon, with enhanced sound system, cashmere. Crew cab, pillars & floor, without premium enhanced audio, cashmere. Extended cab, pillars & floor, without premium enhanced audio, cashmere. Avalanche, without premium audio, cashmere. Sedan, chevrolet & gmc, without premium audio, cashmere.
3
Speaker Grille
GM
GM Positions: Right
Notes: PARTS: Part included with windshield pillar trim.
Description: Tahoe & Yukon, with enhanced sound system, gray. Avalanche, without premium audio, ebony. Standard cab, pillars & floor. CREW CAB PILLARS & FLOOR. without premium audio ebony. Sedan, chevrolet & gmc, without premium audio, ebony.
3
Speaker Grille
GM
GM Positions: Left
Notes: PARTS: Part included with windshield pillar trim.
Description: Extended cab, pillars & floor, with premium enhanced audio, ebony. Tahoe & Yukon, with premium sound system, gray. Avalanche, with premium audio, ebony. Cadillac, ebony. Escalade, gray. Crew cab pillars & floor. with premium audio ebony. Escalade EXT, ebony. Sedan, chevrolet & gmc, with premium audio, ebony.
3
Speaker Grille
GM
GM Positions: Right
Notes: PARTS: Part included with windshield pillar trim.
Description: Tahoe & Yukon, with premium sound system, gray. Avalanche, with premium audio, ebony. Cadillac, ebony. Escalade, gray. Crew cab pillars & floor. with premium audio ebony. Escalade EXT, ebony. Sedan, chevrolet & gmc, with premium audio, ebony.
4
Handle Asm-W/S Plr Asst Opel Gray
GM
GM Positions: Right
Description: Tahoe & Yukon, gray. Avalanche, ebony. Escalade, gray. Cadillac, ebony. Escalade EXT, ebony. , chevrolet & gmc, ebony. Extended cab pillars & floor. ebony. Standard cab pillars & floor. ebony. Provides a secure gripping point
Matches the vehicle's interior trim package
This GM Genuine Part is designed, engineered, and tested to rigorous standards and is backed by General Motors
Collision parts are designed to help promote proper and safe repair
MSRP $35.19
$25.32
MSRP $35.19
$25.32
4
Grip Handle
GM
GM Positions: Right
Description: Tahoe & Yukon, cashmere. Avalanche, cashmere. Cadillac, cocoa. Crew cab pillars & floor. cashmere. Escalade, cashmere. Escalade EXT, cocoa. Sedan, chevrolet & gmc, cashmere.
5
Cover-W/S Plr Asst Hdl Opel Gray
GM
GM Notes: PARTS: Part included with grip handle.
Description: Tahoe & Yukon, upper, gray. Avalanche, upper, ebony. Escalade, upper, gray. Cadillac, upper, ebony. Escalade EXT, upper, ebony. , chevrolet & gmc, upper, ebony. Extended cab pillars & floor. upper ebony. Standard cab pillars & floor. upper ebony. This GM Genuine Part is designed, engineered, and tested to rigorous standards and is backed by General Motors
5
Cover-W/S Plr Asst Hdl Opel Gray
GM
GM Notes: PARTS: Part included with grip handle.
Description: Tahoe & Yukon, lower, gray. Avalanche, lower, ebony. Escalade, lower, gray. Cadillac, lower, ebony. Escalade EXT, lower, ebony. Pillars & floor. Sedan, chevrolet & gmc, lower, ebony.
6
Panel Asm-Body H/Plr Tr Ebony
GM
GM Positions: Left
Description: Tahoe & Yukon, ebony. Avalanche, ebony. Cadillac, ebony. Escalade EXT, ebony. Pillars & floor, ebony. , chevrolet & gmc, ebony. Helps define the appearance of your vehicle's body A-pillar trim
This GM Genuine Part is designed, engineered, and tested to rigorous standards and is backed by General Motors
Collision parts are designed to help promote proper and safe repair
MSRP $78.19
$55.55
MSRP $78.19
$55.55
6
Panel Asm-Body H/Plr Tr Titanium
GM
GM Positions: Left
Description: Tahoe & Yukon, titanium. Avalanche, titanium. Pillars & floor, titanium. , chevrolet & gmc, titanium. Helps define the appearance of your vehicle's body A-pillar trim
This GM Genuine Part is designed, engineered, and tested to rigorous standards and is backed by General Motors
Collision parts are designed to help promote proper and safe repair
6
Ebony Passenger Side Body Hinge Pillar Trim Panel
GM
GM Positions: Right
Description: Tahoe & Yukon, ebony. Avalanche, ebony. Cadillac, ebony. Escalade EXT, ebony. Pillars & floor, ebony. , chevrolet & gmc, ebony. Helps define the appearance of your vehicle's body A-pillar trim
This GM Genuine Part is designed, engineered, and tested to rigorous standards and is backed by General Motors
Collision parts are designed to help promote proper and safe repair
MSRP $74.04
$52.61
MSRP $74.04
$52.61
6
Panel Asm-Body H/Plr Tr Cashmere
GM
GM Positions: Right
Description: Tahoe & Yukon, cashmere. Avalanche, cashmere. Cadillac, cocoa. Escalade, cashmere. Crew cab pillars & floor. cashmere. Escalade EXT, cocoa. Sedan, chevrolet & gmc, cashmere.
7
Multi-Purpose Clip
GM
GM Positions: Left
Notes: PARTS: Part included with cowl trim.
Description: These are Sold Individually. This GM Genuine Part is designed, engineered, and tested to rigorous standards and is backed by General Motors
MSRP $92.10
$64.70
MSRP $92.10
$64.70
8
Upper Center Pillar Trim
GM
GM Positions: Left
Notes: PARTS: Order by application.
Description: Crew cab, pillars & floor, cashmere. Chevrolet & gmc, cashmere. Tahoe & Yukon, cashmere. Avalanche, cashmere.
8
Upper Center Pillar Trim
GM
GM Positions: Right
Notes: PARTS: Order by application.
Description: Crew cab, pillars & floor, cashmere. Chevrolet & gmc, cashmere. Tahoe & Yukon, cashmere. Avalanche, cashmere.
8
Upper Center Pillar Trim
GM
GM Positions: Left
Notes: PARTS: Order by application.
Description: Tahoe & Yukon, gray. Avalanche, ebony. Crew cab pillars & floor. ebony. Sedan, chevrolet & gmc, ebony.
8
Upper Center Pillar Trim
GM
GM Positions: Right
Notes: PARTS: Order by application.
Description: Tahoe & Yukon, gray. Avalanche, ebony. Crew cab pillars & floor. ebony. Sedan, chevrolet & gmc, ebony.
9
Multi-Purpose Clip
GM
GM Positions: Left
Notes: PARTS: Part included with upper center pillar trim.
Description: This GM Genuine Part is designed, engineered, and tested to rigorous standards and is backed by General Motors
MSRP $9.41
$6.62
MSRP $9.41
$6.62
10
Granite Opel Gray Center Pillar Hole Plug
GM
GM Positions: Left
Notes: PARTS: Part included with upper center pillar trim.
Description: Tahoe & Yukon, gray. Avalanche, ebony. Pillars & floor. , chevrolet & gmc, ebony. Helps ensure a tight seal for your vehicle's center pillar
For proper installation, locate your nearest GM dealer, independent service center, or body shop
Precise fit for ease of installation
MSRP $7.98
$5.94
MSRP $7.98
$5.94
10
Light Cashmere Center Pillar Hole Plug
GM
GM Positions: Left
Notes: PARTS: Part included with upper center pillar trim.
Description: Tahoe & Yukon, cashmere. Avalanche, cashmere. Cadillac, cocoa. Escalade, cashmere. Escalade EXT, cocoa. Crew cab pillars & floor. cashmere. , chevrolet & gmc, cashmere. Helps ensure a tight seal for your vehicle's center pillar
For proper installation, locate your nearest GM dealer, independent service center, or body shop
Precise fit for ease of installation
MSRP $7.98
$5.94
MSRP $7.98
$5.94
11
Seat Belt Cover
GM
GM Positions: Left
Notes: PARTS: Part included with upper center pillar trim.
Description: Tahoe & Yukon, gray. Avalanche, ebony. Cadillac, ebony. Escalade, gray. Crew cab pillars & floor. ebony. Escalade EXT, ebony. Sedan, chevrolet & gmc, ebony.
11
Seat Belt Cover
GM
GM Positions: Left
Notes: PARTS: Part included with upper center pillar trim.
Description: Crew cab, pillars & floor, cashmere. Tahoe & Yukon, cashmere. Avalanche, cashmere. Cadillac, cocoa. Escalade, cashmere. Escalade EXT, cocoa. Sedan, chevrolet & gmc, cashmere.
11
Light Titanium Front Seat Belt Shoulder Guide Adjuster Closeout Cover
GM
GM Description: Standard cab pillars & floor. cashmere. Helps enhance the appearance of your vehicle's seat belt height adjuster
This GM Genuine Part is designed, engineered, and tested to rigorous standards and is backed by General Motors
Collision parts are designed to help promote proper and safe repair
11
Ebony Front Seat Belt Shoulder Guide Adjuster Closeout Cover
GM
GM Description: Standard cab pillars & floor. titanium. Helps enhance the appearance of your vehicle's seat belt height adjuster
This GM Genuine Part is designed, engineered, and tested to rigorous standards and is backed by General Motors
Collision parts are designed to help promote proper and safe repair
12
Handle Asm-Asst Opel Gray
GM
GM Positions: Left
Description: Tahoe & Yukon, gray. Avalanche, ebony. Cadillac, ebony. Escalade, gray. Crew cab pillars & floor. ebony. Escalade EXT, ebony. Sedan, chevrolet & gmc, ebony.
12
Interior Grab Bar
GM
GM Positions: Left
Description: Tahoe & Yukon, cashmere. Avalanche, cashmere. Cadillac, cocoa. Escalade, cashmere. Crew cab pillars & floor. cashmere. Escalade EXT, cocoa. Sedan, chevrolet & gmc, cashmere.
12
Interior Grab Bar
GM
GM Positions: Right
Description: Tahoe & Yukon, gray. Avalanche, ebony. Cadillac, ebony. Escalade, gray. Crew cab pillars & floor. ebony. Escalade EXT, ebony. Sedan, chevrolet & gmc, ebony.
12
Interior Grab Bar
GM
GM Positions: Right
Description: Tahoe & Yukon, cashmere. Avalanche, cashmere. Cadillac, cocoa. Escalade, cashmere. Crew cab pillars & floor. cashmere. Escalade EXT, cocoa. Sedan, chevrolet & gmc, cashmere.
13
Lower Center Pillar Trim
GM
GM Positions: Right
Description: Crew cab, pillars & floor, cashmere. Chevrolet & gmc, cashmere. Tahoe & Yukon, cashmere. Avalanche, cashmere. Cadillac, cashmere. Escalade EXT, cashmere.
13
Lower Center Pillar Trim
GM
GM Positions: Right
Description: Crew cab, pillars & floor, titanium. Chevrolet & gmc, titanium. Tahoe & Yukon, titanium. Avalanche, titanium.
13
Lower Center Pillar Trim
GM
GM Positions: Right
Description: Crew cab, pillars & floor, ebony. Chevrolet & gmc, ebony. Tahoe & Yukon, ebony. Avalanche, ebony. Cadillac, ebony. Escalade EXT, ebony.
13
Lower Center Pillar Trim
GM
GM Positions: Left
Description: Crew cab, pillars & floor, cashmere. Chevrolet & gmc, cashmere. Tahoe & Yukon, cashmere. Avalanche, cashmere. Cadillac, cashmere. Escalade EXT, cashmere.
13
Lower Center Pillar Trim
GM
GM Positions: Left
Description: Crew cab, pillars & floor, titanium. Chevrolet & gmc, titanium. Tahoe & Yukon, titanium. Avalanche, titanium.
13
Lower Center Pillar Trim
GM
GM Positions: Left
Description: Crew cab, pillars & floor, ebony. Chevrolet & gmc, ebony. Tahoe & Yukon, ebony. Avalanche, ebony. Cadillac, ebony. Escalade EXT, ebony.
15
Ebony Passenger Side Body Lock Pillar Garnish Molding
GM
GM Positions: Right
Description: Pillars & floor. all ebony. Pillars & floor, without reverse sensing system, ebony. Helps conceal the interior side of your vehicle's body B-pillar
This GM Genuine Part is designed, engineered, and tested to rigorous standards and is backed by General Motors
Collision parts are designed to help promote proper and safe repair
15
15
15
Molding Asm-Body L/Plr Garn Ebony
GM
GM Positions: Left
Description: Crew cab pillars & floor. all ebony.
15
15
Lock Pillar Trim
GM
GM Positions: Right
Description: Crew cab, pillars & floor, with reverse sensing system, ebony.
$89.06
$89.06
15
Lock Pillar Trim
GM
GM Positions: Right
Description: Crew cab, pillars & floor, with reverse sensing system, titanium.
15
Lock Pillar Trim
GM
GM Positions: Right
Description: Crew cab, pillars & floor, with reverse sensing system, cashmere.
$65.49
$65.49
15
Lock Pillar Trim
GM
GM Positions: Left
Description: Crew cab, pillars & floor, with reverse sensing system, cashmere. Crew cab pillars & floor. all cashmere.
$82.85
$82.85
17
Retainer,Body Si Rr T/Pnl
GM
GM Positions: Left
Notes: PARTS: Part included with lock pillar trim.
Description: Upper trim,retainer. Lock pillar trim,fastener. Headliner & pillars. Body side trim,retainer. Regular cab pillars & floor. Lock pillar trim,clip. Crew cab pillars & floor. This GM Genuine Part is designed, engineered, and tested to rigorous standards and is backed by General Motors
MSRP $11.06
$7.78
MSRP $11.06
$7.78
18
Granite and Light Neutral Body Lock Pillar Garnish Molding Plug
GM
GM Positions: Left
Notes: PARTS: Part included with lock pillar trim.
Description: Crew cab pillars & floor. cashmere. Installed on your vehicles body B-pillar trim panel for a finished appearance
This GM Genuine Part is designed, engineered, and tested to rigorous standards and is backed by General Motors
Collision parts are designed to help promote proper and safe repair
MSRP $7.44
$5.53
MSRP $7.44
$5.53
18
Granite Opel Gray Body Lock Pillar Garnish Molding Plug
GM
GM Positions: Left
Notes: PARTS: Part included with lock pillar trim.
Description: Pillars & floor. Installed on your vehicles body B-pillar trim panel for a finished appearance
This GM Genuine Part is designed, engineered, and tested to rigorous standards and is backed by General Motors
Collision parts are designed to help promote proper and safe repair
MSRP $12.42
$9.23
MSRP $12.42
$9.23
19
Guide Asm-R/Seat Shldr Belt Cashmere
GM
GM Positions: Right
Notes: PARTS: Part included with lock pillar trim.
Description: Extended cab, pillars & floor, cashmere. Tahoe & Yukon, cashmere. Cadillac, cocoa. Escalade, cashmere. Crew cab pillars & floor. cashmere. Sedan, chevrolet & gmc, cashmere.
19
Seat Belt Guide
GM
GM Positions: Left
Notes: PARTS: Part included with lock pillar trim.
Description: Extended cab, pillars & floor, titanium. Tahoe & Yukon, titanium. Crew cab pillars & floor. titanium. Sedan, chevrolet & gmc, titanium.
19
Guide Asm-R/Seat Shldr Belt Ebony
GM
GM Positions: Left
Notes: PARTS: Part included with lock pillar trim.
Description: Tahoe & Yukon, ebony. Cadillac, ebony. Escalade, ebony. Pillars & floor, ebony. , chevrolet & gmc, ebony. Available in multiple colors to match the vehicle's interior trim package
Helps keep the seat belt in the proper position
This GM Genuine Part is designed, engineered, and tested to rigorous standards and is backed by General Motors
Collision parts are designed to help promote proper and safe repair
20
Molding Asm-R/Wdo Lwr Garn Ebony
GM
GM Description: Extended cab, pillars & floor, without power sliding window, ebony. CREW CAB PILLARS & FLOOR. without power sliding window ebony.
20
Rear Glass Molding
GM
GM Description: Extended cab, pillars & floor, without power sliding window, cashmere. CREW CAB PILLARS & FLOOR. without power sliding window cashmere.
20
Rear Glass Molding
GM
GM Description: Extended cab, pillars & floor, with power sliding window, ebony. CREW CAB PILLARS & FLOOR. with power sliding window ebony.
20
Light Cashmere Driver Side Rear Window Lower Garnish Molding
GM
GM Description: Extended cab, pillars & floor, with power sliding window, cashmere. Helps define the appearance of your vehicle's interior
This GM Genuine Part is designed, engineered, and tested to rigorous standards and is backed by General Motors
Collision parts are designed to help promote proper and safe repair
20
Rear Glass Molding
GM
GM Description: CREW CAB PILLARS & FLOOR. with power sliding window titanium.
$84.37
$84.37
20
Light Titanium Rear Window Lower Garnish Molding
GM
GM Description: Standard cab pillars & floor. titanium. Helps define the appearance of your vehicle's interior
This GM Genuine Part is designed, engineered, and tested to rigorous standards and is backed by General Motors
Collision parts are designed to help promote proper and safe repair
22
Light Cashmere Passenger Side Rear Window Lower Garnish Molding
GM
GM Positions: Right
Description: Pillars & floor, with power sliding window, cashmere. Helps define the appearance of your vehicle's interior
This GM Genuine Part is designed, engineered, and tested to rigorous standards and is backed by General Motors
Collision parts are designed to help promote proper and safe repair
22
Light Titanium Passenger Side Rear Window Lower Garnish Molding
GM
GM Positions: Right
Description: Pillars & floor, with power sliding window, titanium. Helps define the appearance of your vehicle's interior
This GM Genuine Part is designed, engineered, and tested to rigorous standards and is backed by General Motors
Collision parts are designed to help promote proper and safe repair
24
Sill Plate
GM
GM Positions: Left
Description: Tahoe & Yukon, without denali, cashmere. Crew cab pillars & floor. without denali cashmere. Standard cab pillars & floor. cashmere. Avalanche, cashmere, without ltz. Sedan, chevrolet & gmc, without denali, cashmere.
24
Sill Plate
GM
GM Positions: Left
Description: Tahoe & Yukon, without denali, titanium. Crew cab pillars & floor. without denali titanium. Standard cab pillars & floor. titanium. Avalanche, titanium, without ltz. Sedan, chevrolet & gmc, without denali, titanium.
24
Ebony Front Driver Side Door Sill Trim Plate
GM
GM Positions: Left
Description: Tahoe & Yukon, without denali, ebony. Avalanche, ebony, without ltz. , chevrolet & gmc, without denali, ebony. Crew cab pillars & floor. without denali, without z71 pkg ebony. Helps enhance the appearance of your vehicle's interior threshold
This GM Genuine Part is designed, engineered, and tested to rigorous standards and is backed by General Motors
Collision parts are designed to help promote proper and safe repair
MSRP $168.32
$118.08
MSRP $168.32
$118.08
24
Sill Plate
GM
GM Positions: Right
Description: Tahoe & Yukon, without denali, cashmere. Crew cab pillars & floor. without denali cashmere. Standard cab pillars & floor. cashmere. Avalanche, cashmere, without ltz. Sedan, chevrolet & gmc, without denali, cashmere.
24
Light Titanium Front Passenger Side Door Sill Trim Plate
GM
GM Positions: Right
Description: Tahoe & Yukon, without denali, titanium. Avalanche, titanium, without ltz. , chevrolet & gmc, without denali, titanium. Crew cab pillars & floor. without denali, without z71 pkg titanium. Helps enhance the appearance of your vehicle's interior threshold
This GM Genuine Part is designed, engineered, and tested to rigorous standards and is backed by General Motors
Collision parts are designed to help promote proper and safe repair
24
Plate Asm-Frt S/D Sill Tr Ebony
GM
GM Positions: Right
Description: Tahoe & Yukon, without denali, ebony. Avalanche, ebony, without ltz. , chevrolet & gmc, without denali, ebony. Crew cab pillars & floor. without denali, without z71 pkg ebony. Helps enhance the appearance of your vehicle's interior threshold
This GM Genuine Part is designed, engineered, and tested to rigorous standards and is backed by General Motors
Collision parts are designed to help promote proper and safe repair
24
Ebony Front Driver Side Door Sill Trim Plate
GM
GM Positions: Left
Description: Tahoe & Yukon, with denali, ebony. Crew cab pillars & floor. with denali ebony. Chevrolet & gmc, with denali, ebony. Helps enhance the appearance of your vehicle's interior threshold
This GM Genuine Part is designed, engineered, and tested to rigorous standards and is backed by General Motors
Collision parts are designed to help promote proper and safe repair
24
Front Sill Plate
GM
GM Positions: Left
Description: Crew cab pillars & floor. with denali cocoa. Chevrolet & gmc, with denali, cocoa. Tahoe & Yukon, with denali, cocoa.
24
Front Sill Plate
GM
GM Positions: Right
Description: Crew cab pillars & floor. with denali ebony. Chevrolet & gmc, with denali, ebony. Tahoe & Yukon, with denali, ebony.
$74.00
$74.00
24
Front Sill Plate
GM
GM Positions: Right
Description: Crew cab pillars & floor. with denali cocoa. Chevrolet & gmc, with denali, cocoa. Tahoe & Yukon, with denali, cocoa.
26
Plate Asm-Rr S/D Sill Tr Ebony
GM
GM Positions: Left
Description: Pillars & floor. ebony. , chevrolet & gmc, without denali, ebony. Helps enhance the appearance of your vehicle's interior threshold
This GM Genuine Part is designed, engineered, and tested to rigorous standards and is backed by General Motors
Collision parts are designed to help promote proper and safe repair
MSRP $66.83
$47.49
MSRP $66.83
$47.49
26
Light Cashmere Rear Side Door Sill Trim Plate
GM
GM Positions: Left
Description: Avalanche, cashmere. Pillars & floor. cashmere. , chevrolet & gmc, without denali, cashmere. Helps enhance the appearance of your vehicle's interior threshold
This GM Genuine Part is designed, engineered, and tested to rigorous standards and is backed by General Motors
Collision parts are designed to help promote proper and safe repair
26
Plate Asm-Rr S/D Sill Tr Titanium
GM
GM Positions: Left
Description: Crew cab pillars & floor. without denali titanium. Sedan, chevrolet & gmc, without denali, titanium.
28
Ebony Floor Panel Carpet
GM
GM Description: Crew cab pillars & floor. carpet ebony. Enhances the vehicle interior
Helps isolate noise
This GM Genuine Part is designed, engineered, and tested to rigorous standards and is backed by General Motors
Collision parts are designed to help promote proper and safe repair
28
Dark Titanium Floor Panel Carpet
GM
GM Description: Crew cab pillars & floor. carpet titanium. Enhances the vehicle interior
Helps isolate noise
This GM Genuine Part is designed, engineered, and tested to rigorous standards and is backed by General Motors
Collision parts are designed to help promote proper and safe repair
28
Instrument Panel Knee Bolster
GM
GM Description: Crew cab pillars & floor. rubber mat. Provides optimal traction and grip between the floor and shoes
Easy to clean
This GM Genuine Part is designed, engineered, and tested to rigorous standards and is backed by General Motors
Collision parts are designed to help promote proper and safe repair
2 This part contains hazardous materials. Extra shipping costs apply.
No.
Part # / Description / Price
Price
1
Molding Asm-W/S Si Garn Gran Opl Gry
GM
GM Positions: Right
Notes: PARTS: Order by application.
Description: Tahoe & Yukon, with enhanced sound system, gray. Avalanche, without premium audio, ebony. , chevrolet & gmc, without premium audio, ebony. CREW CAB PILLARS & FLOOR. without premium enhanced audio ebony. EXTENDED CAB PILLARS & FLOOR. without premium enhance ...
1
Windshield Pillar Trim 2
GM
GM Positions: Right
Notes: PARTS: Order by application.
Description: Tahoe & Yukon, with premium sound system, cashmere. Avalanche, with premium audio, cashmere. EXTENDED CAB PILLARS & FLOOR. with premium enhanced audio cashmere. Sedan, chevrolet & gmc, with premium audio, cashmere.
1
Molding Asm-W/S Si Garn Gran Opl Gry
GM
GM Positions: Left
Notes: PARTS: Order by application.
Description: Tahoe & Yukon, with premium sound system, gray. Avalanche, with premium audio, ebony. , chevrolet & gmc, with premium audio, ebony. CREW CAB PILLARS & FLOOR. with premium enhanced audio ebony. EXTENDED CAB PILLARS & FLOOR. with premium enhanced audio ebony. Helps define the appearance of your vehicle's body A-pillar trim
This GM Genuine Part is designed, engineered, and tested to rigorous standards and is backed by General Motors
Collision parts are designed to help promote proper and safe repair
This GM Genuine Part is designed, engineered, and tested to rigorous standards and is backed by General Motors
Collision parts are designed to help promote proper and safe repair
1
Windshield Pillar Trim
GM
GM Positions: Left
Notes: PARTS: Order by application.
Description: Tahoe & Yukon, with premium sound system, cashmere. Avalanche, with premium audio, cashmere. EXTENDED CAB PILLARS & FLOOR. with premium enhanced audio cashmere. Sedan, chevrolet & gmc, with premium audio, cashmere.
2
Light Cashmere Driver Side Windshield Garnish Molding Bolt Hole Finish Plug
GM
GM Positions: Left
Notes: PARTS: Part included with windshield pillar trim.
Description: Tahoe & Yukon, cashmere. Avalanche, cashmere. Cadillac, cocoa. Escalade, cashmere. Crew cab pillars & floor. cashmere. Escalade EXT, cocoa. , chevrolet & gmc, cashmere. Extended cab pillars & floor. cashmere. Standard cab pillars & floor. cashmere. Installed in the vehicle's trim panel for a finished appearance
This GM Genuine Part is designed, engineered, and tested to rigorous standards and is backed by General Motors
Collision parts are designed to help promote proper and safe repair
MSRP $7.89
$5.86
MSRP $7.89
$5.86
3
M4.2x1.41x18 Multi-Purpose Bolt
GM
GM Positions: Left
Notes: PARTS: Part included with windshield pillar trim.
Description: These are Sold Individually. This GM Genuine Part is designed, engineered, and tested to rigorous standards and is backed by General Motors
MSRP $49.80
$35.10
MSRP $49.80
$35.10
4
Multi-Purpose Retainer
GM
GM Positions: Left
Notes: PARTS: Part included with windshield pillar trim.
Description: Driver side. Passenger side. This GM Genuine Part is designed, engineered, and tested to rigorous standards and is backed by General Motors
MSRP $8.40
$6.25
MSRP $8.40
$6.25
5
Multi-Purpose Clip
GM
GM Positions: Left
Notes: PARTS: Part included with windshield pillar trim.
Description: These are Sold Individually. This GM Genuine Part is designed, engineered, and tested to rigorous standards and is backed by General Motors
MSRP $92.10
$64.70
MSRP $92.10
$64.70
6
Light Cashmere Passenger Side Windshield Garnish Molding Speaker Grille
GM
GM Positions: Right
Notes: PARTS: Part included with windshield pillar trim.
Description: Tahoe & Yukon, with enhanced sound system, cashmere. Avalanche, without premium audio, cashmere. , chevrolet & gmc, without premium audio, cashmere. CREW CAB PILLARS & FLOOR. without premium enhanced audio cashmere. EXTENDED CAB PILLARS & FLOOR. without premium enhanced audio cashmere. Standard cab pillars & floor. cashmere. This GM Genuine Part is designed, engineered, and tested to rigorous standards and is backed by General Motors
6
Speaker Grille
GM
GM Positions: Left
Notes: PARTS: Part included with windshield pillar trim.
Description: Tahoe & Yukon, with premium sound system, cashmere. Extended cab, pillars & floor, with premium enhanced audio, cashmere. Avalanche, with premium audio, cashmere. Cadillac, cocoa. Crew cab, pillars & floor, with premium enhanced audio, cashmere. Escalade EXT, cocoa. Sedan, chevrolet & gmc, with premium audio, cashmere.
6
Speaker Grille
GM
GM Positions: Right
Notes: PARTS: Part included with windshield pillar trim.
Description: Tahoe & Yukon, with premium sound system, cashmere. Crew cab, pillars & floor, with premium enhanced audio, cashmere. Extended cab, pillars & floor, with premium enhanced audio, cashmere. Avalanche, with premium audio, cashmere. Cadillac, cocoa. Escalade, cashmere. Escalade EXT, cocoa. Sedan, chevrolet & gmc, with premium audio, cashmere.
8
Light Cashmere Windshield Pillar Assist Handle Cover
GM
GM Notes: PARTS: Part included with grip handle.
Description: Tahoe & Yukon, lower, cashmere. Avalanche, lower, cashmere. Escalade, lower, cashmere. Cadillac, lower, cocoa. Crew cab pillars & floor. lower cashmere. , chevrolet & gmc, lower, cashmere. Extended cab pillars & floor. lower cashmere. Standard cab pillars & floor. lower cashmere. This GM Genuine Part is designed, engineered, and tested to rigorous standards and is backed by General Motors
8
Grip Handle Cover
GM
GM Notes: PARTS: Part included with grip handle.
Description: Tahoe & Yukon, upper, cashmere. Extended cab, pillars & floor, upper, cashmere. Avalanche, upper, cashmere. Standard cab, pillars & floor, upper, cashmere. Escalade, upper, cashmere. Cadillac, upper, cocoa. Crew cab pillars & floor. upper cashmere. Sedan, chevrolet & gmc, upper, cashmere.
9
Panel Asm-Body H/Plr Tr Cashmere
GM
GM Positions: Left
Description: Extended cab, pillars & floor, cashmere. Tahoe & Yukon, cashmere. Avalanche, cashmere. Cadillac, cocoa. Escalade, cashmere. Crew cab pillars & floor. cashmere. Escalade EXT, cocoa. Sedan, chevrolet & gmc, cashmere.
9
Panel Asm-Body H/Plr Tr Titanium
GM
GM Positions: Right
Description: Tahoe & Yukon, titanium. Avalanche, titanium. Pillars & floor, titanium. , chevrolet & gmc, titanium. Helps define the appearance of your vehicle's body A-pillar trim
This GM Genuine Part is designed, engineered, and tested to rigorous standards and is backed by General Motors
Collision parts are designed to help promote proper and safe repair
11
Lock Pillar Trim
GM
GM Positions: Left
Description: Extended cab pillars & floor. all ebony. EXTENDED CAB PILLARS & FLOOR. without reverse sensing system ebony.
11
Lock Pillar Trim
GM
GM Positions: Left
Description: Extended cab pillars & floor. all cashmere. EXTENDED CAB PILLARS & FLOOR. without reverse sensing system cashmere.
11
Lock Pillar Trim
GM
GM Positions: Left
Description: Extended cab pillars & floor. all titanium. EXTENDED CAB PILLARS & FLOOR. without reverse sensing system titanium.
$88.51
$88.51
11
Lock Pillar Trim
GM
GM Positions: Right
Description: Extended cab pillars & floor. all ebony. EXTENDED CAB PILLARS & FLOOR. without reverse sensing system ebony.
11
Light Cashmere Passenger Side Body Side Rear Trim Panel
GM
GM Positions: Right
Description: Extended cab pillars & floor. all cashmere. EXTENDED CAB PILLARS & FLOOR. without reverse sensing system cashmere. Helps define the appearance of your vehicle's interior
This GM Genuine Part is designed, engineered, and tested to rigorous standards and is backed by General Motors
Collision parts are designed to help promote proper and safe repair
11
Lock Pillar Trim
GM
GM Positions: Right
Description: EXTENDED CAB PILLARS & FLOOR. with reverse sensing system cashmere.
$224.72
$224.72
11
Lock Pillar Trim
GM
GM Positions: Right
Description: Extended cab pillars & floor. all titanium. EXTENDED CAB PILLARS & FLOOR. without reverse sensing system titanium.
$126.56
$126.56
11
Lock Pillar Trim
GM
GM Positions: Right
Description: EXTENDED CAB PILLARS & FLOOR. with reverse sensing system ebony.
11
Lock Pillar Trim
GM
GM Positions: Right
Description: EXTENDED CAB PILLARS & FLOOR. with reverse sensing system titanium.
11
Door Pillar Post Trim Set
GM
GM Positions: Left
Description: Standard cab pillars & floor. ebony 2nd design.
11
Door Pillar Post Trim Set
GM
GM Positions: Left
Description: Standard cab pillars & floor. cashmere.
MSRP $77.85
$54.80
MSRP $77.85
$54.80
11
Door Pillar Post Trim Set
GM
GM Positions: Left
Description: Standard cab pillars & floor. titanium.
$26.73
$26.73
11
Door Pillar Post Trim Set
GM
GM Positions: Right
Description: Standard cab pillars & floor. ebony 2nd design.
$99.93
$99.93
11
Light Cashmere Passenger Side Body Side Rear Trim Panel
GM
GM Positions: Right
Description: Standard cab pillars & floor. cashmere. Helps define the appearance of your vehicle's interior
This GM Genuine Part is designed, engineered, and tested to rigorous standards and is backed by General Motors
Collision parts are designed to help promote proper and safe repair
11
Door Pillar Post Trim Set
GM
GM Positions: Right
Description: Standard cab pillars & floor. titanium.
$25.88
$25.88
14
Lock Pillar Trim Hole Cover
GM
GM Positions: Left
Notes: PARTS: Part included with lock pillar trim.
Description: Extended cab pillars & floor. ebony. Standard cab pillars & floor. ebony.
14
Lock Pillar Trim Hole Cover
GM
GM Positions: Left
Notes: PARTS: Part included with lock pillar trim.
Description: Extended cab pillars & floor. cashmere. Standard cab pillars & floor. cashmere.
14
Lock Pillar Trim Hole Cover
GM
GM Positions: Left
Notes: PARTS: Part included with lock pillar trim.
Description: Extended cab pillars & floor. titanium. Standard cab pillars & floor. titanium.
15
Multi-Purpose Clip
GM
GM Positions: Left
Notes: PARTS: Part included with lock pillar trim.
Description: This GM Genuine Part is designed, engineered, and tested to rigorous standards and is backed by General Motors
MSRP $9.41
$6.62
MSRP $9.41
$6.62
16
Retainer,Body Si Rr T/Pnl
GM
GM Positions: Right
Notes: PARTS: Part included with lock pillar trim.
Description: Upper trim,retainer. Lock pillar trim,fastener. Headliner & pillars. Body side trim,retainer. Regular cab pillars & floor. Lock pillar trim,clip. Crew cab pillars & floor. This GM Genuine Part is designed, engineered, and tested to rigorous standards and is backed by General Motors
MSRP $11.06
$7.78
MSRP $11.06
$7.78
17
Guide Asm-R/Seat Shldr Belt Cashmere
GM
GM Positions: Left
Notes: PARTS: Part included with lock pillar trim.
Description: Extended cab, pillars & floor, cashmere. Tahoe & Yukon, cashmere. Cadillac, cocoa. Escalade, cashmere. Crew cab pillars & floor. cashmere. Sedan, chevrolet & gmc, cashmere.
17
Seat Belt Guide
GM
GM Positions: Right
Notes: PARTS: Part included with lock pillar trim.
Description: Extended cab, pillars & floor, titanium. Tahoe & Yukon, titanium. Crew cab pillars & floor. titanium. Sedan, chevrolet & gmc, titanium.
18
Rear Glass Molding
GM
GM Description: Extended cab, pillars & floor, without power sliding window, titanium. CREW CAB PILLARS & FLOOR. without power sliding window titanium.
20
Ebony Passenger Side Rear Window Lower Garnish Molding
GM
GM Positions: Right
Description: Extended cab, pillars & floor, with power sliding window, ebony. Helps define the appearance of your vehicle's interior
This GM Genuine Part is designed, engineered, and tested to rigorous standards and is backed by General Motors
Collision parts are designed to help promote proper and safe repair
22
Plate Asm-Frt S/D Sill Tr Ebony
GM
GM Positions: Left
Description: Extended cab pillars & floor. ebony without appearance pkg. Helps enhance the appearance of your vehicle's interior threshold
This GM Genuine Part is designed, engineered, and tested to rigorous standards and is backed by General Motors
Collision parts are designed to help promote proper and safe repair
MSRP $135.71
$95.20
MSRP $135.71
$95.20
22
22
22
Plate Asm-Frt S/D Sill Tr Ebony
GM
GM Positions: Right
Description: Extended cab pillars & floor. ebony without appearance pkg.
22
22
22
Front Sill Plate
GM
GM Positions: Left
Description: Extended cab pillars & floor. ebony with appearance pkg.
$71.08
$71.08
22
Front Sill Plate
GM
GM Positions: Right
Description: Extended cab pillars & floor. ebony with appearance pkg.
24
Plate Asm-Rr S/D Sill Tr Cashmere
GM
GM Positions: Left
Description: Extended cab pillars & floor. cashmere. Helps enhance the appearance of your vehicle's interior threshold
This GM Genuine Part is designed, engineered, and tested to rigorous standards and is backed by General Motors
Collision parts are designed to help promote proper and safe repair
$39.08
$39.08
24
Plate Asm-Rr S/D Sill Tr Titanium
GM
GM Positions: Left
Description: Extended cab pillars & floor. titanium. Helps enhance the appearance of your vehicle's interior threshold
This GM Genuine Part is designed, engineered, and tested to rigorous standards and is backed by General Motors
Collision parts are designed to help promote proper and safe repair
24
Plate Asm-Rr S/D Sill Tr Cashmere
GM
GM Positions: Right
Description: Extended cab pillars & floor. cashmere. Helps enhance the appearance of your vehicle's interior threshold
This GM Genuine Part is designed, engineered, and tested to rigorous standards and is backed by General Motors
Collision parts are designed to help promote proper and safe repair
24
Plate Asm-Rr S/D Sill Tr Titanium
GM
GM Positions: Right
Description: Extended cab pillars & floor. titanium. Helps enhance the appearance of your vehicle's interior threshold
This GM Genuine Part is designed, engineered, and tested to rigorous standards and is backed by General Motors
Collision parts are designed to help promote proper and safe repair
26
Ebony Floor Panel Carpet
GM
GM Notes: PARTS: Order by application.
Description: Extended cab pillars & floor. carpet ebony. Enhances the vehicle interior
Helps isolate noise
This GM Genuine Part is designed, engineered, and tested to rigorous standards and is backed by General Motors
Collision parts are designed to help promote proper and safe repair
26
Dark Titanium Floor Panel Carpet
GM
GM Notes: PARTS: Order by application.
Description: Extended cab pillars & floor. carpet titanium. Enhances the vehicle interior
Helps isolate noise
This GM Genuine Part is designed, engineered, and tested to rigorous standards and is backed by General Motors
Collision parts are designed to help promote proper and safe repair
26
Floor Cover
GM
GM Notes: PARTS: Order by application.
Description: Extended cab pillars & floor. carpet cashmere.
26
Floor Cover
GM
GM Notes: PARTS: Order by application.
Description: Extended cab pillars & floor. rubber mat.
2 This part contains hazardous materials. Extra shipping costs apply.
No.
Part # / Description / Price
Price
1
Light Cashmere Headlining Trim Panel
GM
GM Notes: PARTS: Order by color and application.
Description: CREW CAB HEADLINER & COMPONENTS. with sunroof, with entertainment system cashmere. CREW CAB HEADLINER & COMPONENTS. with sunroof, with entertainment system with head air bags. Helps finish the appearance of your vehicle's interior roof
Helps with interior noise levels and helps to insulate your vehicle's interior cabin
This GM Genuine Part is designed, engineered, and tested to rigorous standards and is backed by General Motors
Collision parts are designed to help promote proper and safe repair
1
Light Opel Gray Rear Side Door Locking Rod Pushbutton Bezel
GM
GM Notes: PARTS: Order by color and application.
Description: CREW CAB HEADLINER & COMPONENTS. with sunroof, with entertainment system gray. CREW CAB HEADLINER & COMPONENTS. with sunroof, with entertainment system without head airbags. Helps finish the appearance of your vehicle's interior roof
Helps with interior noise levels and helps to insulate your vehicle's interior cabin
This GM Genuine Part is designed, engineered, and tested to rigorous standards and is backed by General Motors
Collision parts are designed to help promote proper and safe repair
1
Light Opal Gray Headlining Trim Panel
GM
GM Notes: PARTS: Order by color and application.
Description: CREW CAB HEADLINER & COMPONENTS. with sunroof, without entertainment system gray. CREW CAB HEADLINER & COMPONENTS. with sunroof, without entertainment system with head air bags. Helps finish the appearance of your vehicle's interior roof
Helps with interior noise levels and helps to insulate your vehicle's interior cabin
This GM Genuine Part is designed, engineered, and tested to rigorous standards and is backed by General Motors
Collision parts are designed to help promote proper and safe repair
MSRP $1,284.41
$873.94
MSRP $1,284.41
$873.94
1
Light Opel Gray Headlining Trim Panel
GM
GM Notes: PARTS: Order by color and application.
Description: CREW CAB HEADLINER & COMPONENTS. with sunroof, without entertainment system gray. CREW CAB HEADLINER & COMPONENTS. with sunroof, without entertainment system without head airbags. Helps finish the appearance of your vehicle's interior roof
Helps with interior noise levels and helps to insulate your vehicle's interior cabin
This GM Genuine Part is designed, engineered, and tested to rigorous standards and is backed by General Motors
Collision parts are designed to help promote proper and safe repair
MSRP $1,068.81
$727.24
MSRP $1,068.81
$727.24
1
Light Opel Gray Headlining Trim Panel
GM
GM Notes: PARTS: Order by color and application.
Description: HEADLINER & COMPONENTS. without sunroof with entertainment. Helps finish the appearance of your vehicle's interior roof
Helps with interior noise levels and helps to insulate your vehicle's interior cabin
This GM Genuine Part is designed, engineered, and tested to rigorous standards and is backed by General Motors
Collision parts are designed to help promote proper and safe repair
$191.12
$191.12
1
Light Opel Gray Headlining Trim Panel
GM
GM Notes: PARTS: Order by color and application.
Description: CREW CAB HEADLINER & COMPONENTS. without sunroof, with entertainment system gray. CREW CAB HEADLINER & COMPONENTS. without sunroof, with entertainment system without head airbags. Helps finish the appearance of your vehicle's interior roof
Helps with interior noise levels and helps to insulate your vehicle's interior cabin
This GM Genuine Part is designed, engineered, and tested to rigorous standards and is backed by General Motors
Collision parts are designed to help promote proper and safe repair
1
Light Opel Gray Headlining Trim Panel
GM
GM Notes: PARTS: Order by color and application.
Description: HEADLINER & COMPONENTS. without sunroof without entertainment. Helps finish the appearance of your vehicle's interior roof
Helps with interior noise levels and helps to insulate your vehicle's interior cabin
This GM Genuine Part is designed, engineered, and tested to rigorous standards and is backed by General Motors
Collision parts are designed to help promote proper and safe repair
MSRP $1,366.13
$929.54
MSRP $1,366.13
$929.54
1
Light Opal Gray Headlining Trim Panel
GM
GM Notes: PARTS: Order by color and application.
Description: CREW CAB HEADLINER & COMPONENTS. without sunroof, without entertainment system gray. CREW CAB HEADLINER & COMPONENTS. without sunroof, without entertainment system without head airbags. Helps finish the appearance of your vehicle's interior roof
Helps wit ...
MSRP $1,277.82
$869.46
MSRP $1,277.82
$869.46
2
Light Cashmere Multi-Purpose Retainer
GM
GM Description: Crew cab headliner & components. cashmere. Extended cab headliner & components. cashmere. Without roof rail system, cashmere. Used to secure multiple components
This GM Genuine Part is designed, engineered, and tested to rigorous standards and is backed by General Motors
2
Light Opal Gray Headliner Trim Panel Retainer
GM
GM Description: Roof. Crew cab headliner & components. gray. Extended cab, headliner & components, gray. H2, 2008-09. Used to secure multiple components
This GM Genuine Part is designed, engineered, and tested to rigorous standards and is backed by General Motors
MSRP $10.69
$7.95
MSRP $10.69
$7.95
3
Sunshade Asm Opel Gray
GM
GM Positions: Left
Notes: PARTS: Order by color and application.
Description: Standard cab, headliner & components, with roof lamps. Crew cab headliner & components. without illuminated mirr. Extended cab headliner & components. without illuminated mirr. Standard cab, headliner & components, without illuminated mirr. Helps prevent d ...
3
Sunshade Asm-. Gray
GM
GM Positions: Right
Notes: PARTS: Order by color and application.
Description: Standard cab, headliner & components, with roof lamps. Crew cab headliner & components. without illuminated mirr. Standard cab headliner & components. without illuminated mirr. Extended cab, headliner & components, without illuminated mirr. Helps prevent d ...
3
Sunshade Asm-. Gray
GM
GM Positions: Left
Notes: PARTS: Order by color and application.
Description: Gray. , ebony. Crew cab headliner & components. with illuminated mirr. Extended cab headliner & components. with illuminated mirr. Standard cab headliner & components. with illuminated mirr. Helps prevent direct sunlight from obscuring the driver's vision
Matches vehicle's interior trim package
Easily flips up or down
This GM Genuine Part is designed, engineered, and tested to rigorous standards and is backed by General Motors
Collision parts are designed to help promote proper and safe repair
MSRP $192.40
$134.43
MSRP $192.40
$134.43
3
Sunshade Asm-. Gray
GM
GM Positions: Right
Notes: PARTS: Order by color and application.
Description: Gray. , ebony. Crew cab headliner & components. with illuminated mirr. Extended cab headliner & components. with illuminated mirr. Standard cab headliner & components. with illuminated mirr. Helps prevent direct sunlight from obscuring the driver's vision
Matches vehicle's interior trim package
Easily flips up or down
This GM Genuine Part is designed, engineered, and tested to rigorous standards and is backed by General Motors
Collision parts are designed to help promote proper and safe repair
MSRP $192.40
$134.43
MSRP $192.40
$134.43
4
Retainer Asm-S/S Opel Gray
GM
GM Positions: Left
Description: Gray. Headliner & components. , ebony. Keeps visor aligned and secure
Helps prevent visor vibration
This GM Genuine Part is designed, engineered, and tested to rigorous standards and is backed by General Motors
Collision parts are designed to help promote proper and safe repair
MSRP $14.20
$10.52
MSRP $14.20
$10.52
5
Nut - Push In
GM
GM Positions: Left
Description: With gps. Coupe,. Sportback. Hatchback. Inner. Headliner & components. Tourx. Sunvisor,clip. Sedan,. Without sunroof. Used to secure multiple components
This GM Genuine Part is designed, engineered, and tested to rigorous standards and is backed by General Motors
MSRP $12.68
$9.43
MSRP $12.68
$9.43
6
Sun-Visor Cover
GM
GM Positions: Left
Description: Standard cab, headliner & components. Crew cab headliner & components. Sedan, ebony.
6
Light Opel Gray Passenger Side Sunshade Support Bolt Cover
GM
GM Positions: Right
Description: Standard cab, headliner & components. , ebony. Crew cab headliner & components. Installed in your vehicle's sun visor for a finished appearance
This GM Genuine Part is designed, engineered, and tested to rigorous standards and is backed by General Motors
Collision parts are designed to help promote proper and safe repair
8
Vanity Mirror Light Bulb
GM
GM Positions: Left
Notes: PARTS: Part included with sunvisor.
Description: These are Sold Individually. With sunroof. Bulb. Acadia. Sunshade mirror. Wagon,. Crew cab headliner & components. Standard cab headliner & components. Extended cab headliner & components. Provides illumination for visibility and convenience
This GM Genuine Part is designed, engineered, and tested to rigorous standards and is backed by General Motors
MSRP $68.00
$42.00
MSRP $68.00
$42.00
9
Light Opel Gray Dome and Reading Lamp
GM
GM Description: Headliner & components. Illuminates vehicle's interior
This GM Genuine Part is designed, engineered, and tested to rigorous standards and is backed by General Motors
Collision parts are designed to help promote proper and safe repair
MSRP $120.16
$85.04
MSRP $120.16
$85.04
10
Multi-Purpose Light Bulb
GM
GM Notes: PARTS: Part included with dome lamp assembly.
Description: These are Sold Individually. Provides illumination for visibility and convenience
Some ACDelco Gold parts may have formerly appeared as ACDelco Professional
Premium aftermarket replacement part
Manufactured to meet specifications for fit, form, and function for General Motors vehicles as well as most makes and models
MSRP $68.00
$42.00
MSRP $68.00
$42.00
11
Lens-Dm & Rdg Lp
GM
GM Notes: PARTS: Part included with dome lamp assembly.
Description: Dome lamp lens. Crew cab headliner & components. Extended cab headliner & components. Helps protect your vehicle's reading lamp capsule
This GM Genuine Part is designed, engineered, and tested to rigorous standards and is backed by General Motors
Collision parts are designed to help promote proper and safe repair
13
Light Opel Gray Driver Side Roof Rail Rear Assist Handle
GM
GM Positions: Left
Description: Tahoe & Yukon, gray. Escalade, gray. , without Escalade ESV, ebony. Grip handle. Extended cab headliner & components. gray. Provides a secure gripping point
Matches the vehicle's interior trim package
This GM Genuine Part is designed, engineered, and tested to rigorous standards and is backed by General Motors
Collision parts are designed to help promote proper and safe repair
13
Cashmere Rear Driver Side Roof Rail Assist Handle with Hook
GM
GM Positions: Left
Description: Escalade EXT, cocoa. , without Escalade ESV, cashmere. Extended cab headliner & components. cashmere. Provides a secure gripping point
Matches the vehicle's interior trim package
This GM Genuine Part is designed, engineered, and tested to rigorous standards and is backed by General Motors
Collision parts are designed to help promote proper and safe repair
13
Handle,R/Rl Rr Asst
GM
GM Positions: Right
Description: Tahoe & Yukon, gray. Escalade, gray. Escalade EXT, ebony. Headliner & components. Sedan, without Escalade ESV, ebony.
13
Grip Handle
GM
GM Positions: Right
Description: Crew cab headliner & components. cashmere. Escalade EXT, cocoa. Sedan, without Escalade ESV, cashmere.
14
Roof Rail Rear Assist Handle Bracket
GM
GM Positions: Left
Description: Headliner & components. This GM Genuine Part is designed, engineered, and tested to rigorous standards and is backed by General Motors
Collision parts are designed to help promote proper and safe repair
Collision parts are designed to help promote proper and safe repair
No.
Part # / Description / Price
Price
1
Light Opel Gray Headlining Trim Panel
GM
GM Notes: PARTS: Order by color and application.
Description: Extended cab headliner & components. with sunroof with head air bags. Helps finish the appearance of your vehicle's interior roof
Helps with interior noise levels and helps to insulate your vehicle's interior cabin
This GM Genuine Part is designed, engineered, and tested to rigorous standards and is backed by General Motors
Collision parts are designed to help promote proper and safe repair
1
Light Opel Gray Headlining Trim Panel
GM
GM Notes: PARTS: Order by color and application.
Description: EXTENDED CAB HEADLINER & COMPONENTS. without sunroof with head air bags, with rear temp cntrl. Helps finish the appearance of your vehicle's interior roof
Helps with interior noise levels and helps to insulate your vehicle's interior cabin
This GM Genuine Part is designed, engineered, and tested to rigorous standards and is backed by General Motors
Collision parts are designed to help promote proper and safe repair
MSRP $1,446.89
$984.49
MSRP $1,446.89
$984.49
1
Light Opel Gray Headlining Trim Panel
GM
GM Notes: PARTS: Order by color and application.
Description: EXTENDED CAB HEADLINER & COMPONENTS. without sunroof without head air bags, with rear temp cntrl. Helps finish the appearance of your vehicle's interior roof
Helps with interior noise levels and helps to insulate your vehicle's interior cabin
This GM Genuine Part is designed, engineered, and tested to rigorous standards and is backed by General Motors
Collision parts are designed to help promote proper and safe repair
1
Light Opel Gray Headlining Trim Panel
GM
GM Notes: PARTS: Order by color and application.
Description: Extended cab headliner & components. without sunroof with head air bags. Helps finish the appearance of your vehicle's interior roof
Helps with interior noise levels and helps to insulate your vehicle's interior cabin
This GM Genuine Part is designed, engineered, and tested to rigorous standards and is backed by General Motors
Collision parts are designed to help promote proper and safe repair
1
Light Opel Gray Headlining Trim Panel
GM
GM Notes: PARTS: Order by color and application.
Description: Extended cab headliner & components. without sunroof without head air bags. Helps finish the appearance of your vehicle's interior roof
Helps with interior noise levels and helps to insulate your vehicle's interior cabin
This GM Genuine Part is designed, engineered, and tested to rigorous standards and is backed by General Motors
Collision parts are designed to help promote proper and safe repair
1
Headliner
GM
GM Notes: PARTS: Order by color and application.
Description: Extended cab headliner & components. with sunroof without head airbags.
4
Retainer Asm-S/S Opel Gray
GM
GM Positions: Right
Description: Gray. Headliner & components. , ebony. Keeps visor aligned and secure
Helps prevent visor vibration
This GM Genuine Part is designed, engineered, and tested to rigorous standards and is backed by General Motors
Collision parts are designed to help promote proper and safe repair
MSRP $14.20
$10.52
MSRP $14.20
$10.52
7
Light Opel Gray Sunshade Illuminated Mirror Lens
GM
GM Positions: Left
Notes: PARTS: Part included with sunvisor.
Description: Lens. , ebony. Crew cab headliner & components. Extended cab headliner & components. Standard cab headliner & components. This GM Genuine Part is designed, engineered, and tested to rigorous standards and is backed by General Motors
Collision parts are designed to help promote proper and safe repair
Collision parts are designed to help promote proper and safe repair
12
Pushbutton-Rdg Lp Sw
GM
GM Notes: PARTS: Part included with dome lamp assembly.
Description: Front, with garage door opener. Headliner & components. Activates the reading lamp in your vehicle's interior cabin
This GM Genuine Part is designed, engineered, and tested to rigorous standards and is backed by General Motors
Collision parts are designed to help promote proper and safe repair
MSRP $11.21
$8.33
MSRP $11.21
$8.33
13
13
Light Cashmere Driver Side Rear Door Latch Striker Cover
GM
GM Positions: Left
Description: Extended cab headliner & components. cashmere. Helps conceal your vehicle's door lock striker
This GM Genuine Part is designed, engineered, and tested to rigorous standards and is backed by General Motors
13
13
Light Cashmere Passenger Side Rear Door Latch Striker Cover
GM
GM Positions: Right
Description: Extended cab headliner & components. cashmere. Helps conceal your vehicle's door lock striker
This GM Genuine Part is designed, engineered, and tested to rigorous standards and is backed by General Motors
15
Roof Rail Rear Assist Handle Bracket
GM
GM Positions: Right
Description: Headliner & components. This GM Genuine Part is designed, engineered, and tested to rigorous standards and is backed by General Motors
Collision parts are designed to help promote proper and safe repair
Collision parts are designed to help promote proper and safe repair
17
Cabin Air Temperature Sensor Aspirator
GM
GM Description: Location-Headliner. Extended cab headliner & components. Location-Outlet Duct. Pulls air through the sensor while the blower fan is running. This GM Genuine Part is designed, engineered, and tested to rigorous standards and is backed by General Motors. Original equipment parts are designed to work with your GM vehicle safety systems -- aftermarket replacement parts may not meet the same OE safety regulations, depending on the part type.
MSRP $121.06
$71.40
MSRP $121.06
$71.40
18
Grille-I/S Air Temp Sen Aspirator Opel Gray
GM
GM Description: Gray. Extended cab headliner & components. , ebony. H2, 2008-09. This GM Genuine Part is designed, engineered, and tested to rigorous standards and is backed by General Motors
MSRP $21.65
$15.05
MSRP $21.65
$15.05
No.
Part # / Description / Price
Price
22
Retainer,Frt S/D T/Pnl
GM
GM Description: These are Sold Individually. Standard cab, pillars & floor. Regular cab, back panel. 1998-04. Chevrolet & gmc. 1994-97. Extended cab, easy access. door weatherstrip. Used to secure multiple components
This GM Genuine Part is designed, engineered, and tested to rigorous standards and is backed by General Motors
This GM Genuine Part is designed, engineered, and tested to rigorous standards and is backed by General Motors
MSRP $11.45
$8.52
MSRP $11.45
$8.52
No.
Part # / Description / Price
Price
1
Light Opel Gray Headlining Trim Panel
GM
GM Description: Standard cab headliner & components. without head air bags with slt pkg. Helps finish the appearance of your vehicle's interior roof
Helps with interior noise levels and helps to insulate your vehicle's interior cabin
This GM Genuine Part is designed, engineered, and tested to rigorous standards and is backed by General Motors
Collision parts are designed to help promote proper and safe repair
1
Light Opal Gray Instrument Panel Trim Plate Applique
GM
GM Description: Standard cab headliner & components. with head air bags. Helps finish the appearance of your vehicle's interior roof
Helps with interior noise levels and helps to insulate your vehicle's interior cabin
This GM Genuine Part is designed, engineered, and tested to rigorous standards and is backed by General Motors
Collision parts are designed to help promote proper and safe repair
8
Hook Asm-Coat Opel Gray
GM
GM Description: Standard cab headliner & components. Gray. , ebony. Provides a place to hang clothing
This GM Genuine Part is designed, engineered, and tested to rigorous standards and is backed by General Motors
Collision parts are designed to help promote proper and safe repair
MSRP $19.02
$13.98
MSRP $19.02
$13.98
Related Parts
Part # / Description / Price
Price
Ebony Floor Panel Carpet
GM
GM Description: Standard cab pillars & floor. carpet ebony. Enhances the vehicle interior
Helps isolate noise
This GM Genuine Part is designed, engineered, and tested to rigorous standards and is backed by General Motors
Collision parts are designed to help promote proper and safe repair





