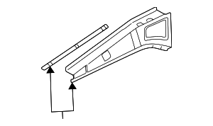
Upper Rail - GM (12369517)
1997-2005 GM - 12369517
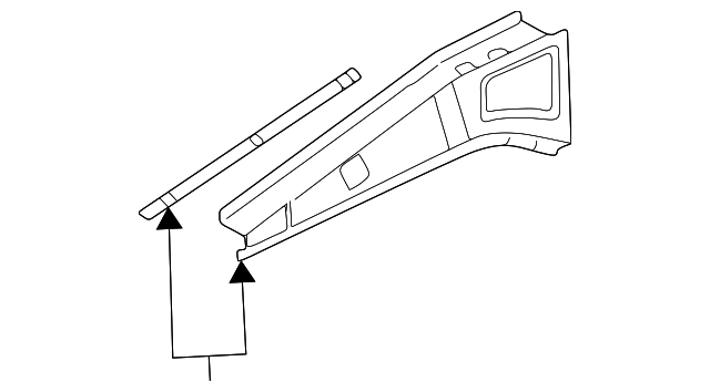
Upper Rail - GM (12369517)
1997-2005 GM - 12369517
Packages shipped within the U.S. and Puerto Rico will automatically be protected from any loss, damage, and theft. Learn More
Have a Question? Ask a specialist
Also Purchased
Product Reviews
Ask Our Team
GM Parts Center

GMPartsCenter.net is one of the largest online retailers of genuine GM parts in the United States. We offer wholesale pricing, fast shipping, and no-hassle returns.
- We offer genuine OEM parts and accessories for GM brands such as Chevrolet, GMC, Buick, Cadillac, and more
- When you provide your vehicle VIN, we can guarantee an exact fit
- We have a huge warehouse of inventory, so we can ship most orders same day
We take customer satisfaction very seriously - if you have a problem give us a call.
GM
Please allow 24-48 hours for us to process your order. Orders are not processed on weekends or major Holidays.
We HIGHLY recommend you include your vehicle's VIN at checkout. We provide free parts fitment verification (we double check you) when you include your vehicles VIN at checkout.
This online catalog is for reference only and does not guarantee availability of parts.
The illustrations contained in this online parts catalog are simple renditions of the part and its location and are for reference only. Factors such as trim, color, options, or included items may not be depicted in the illustrations accurately.
RH and/or RIGHT always means Passenger side of Vehicle. LH and/or LEFT is the Driver side.
Select your vehicle below to shop for parts from specific OEM catalogs: